- 電流檢測電阻的要求及特點
- 測量時RS的阻值要小
- 為滿足大電流的測量,其額定功率一般為1~3W
- 采用四引線結構,消除引線的電阻造成的誤差
在一些電子測量儀器、裝置或產品中,經常有測量電路中直流電流的需要,因此研發人員開發出各種各樣的電流檢測集成電路。它是一種I/V轉換器,將測量的電流轉換成相應的電壓,即V=kI,其中k為比例常數。另外,在一些電子產品中要限制輸出電流,以防止有故障時(負載發生局部短路或輸出端短路、電源輸出電壓升高等)產生過流而造成更大損失。檢測到有過流發生時,可以控制關斷電源或負載開關,或以限制的電流輸出。

圖1電流檢測電路
圖1是一種電流檢測電路。RS是電流檢測電阻,RL是負載(通常為直流電機、電磁閥或加熱器等)。當電流流過電流檢測電阻時產生一個電壓降VRS,此電壓輸入電流檢測IC,經放大器放大后輸出與電流I成比例的電壓V。為減小在RS上的電壓降VR,檢測電阻一般取很小阻值(幾毫歐到幾百毫歐)。

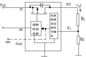
圖2過流保護的負載開關結構框圖
圖2是一種帶過流保護的負載開關結構框圖,圖2中,RL是負載,RS是電流檢測電阻。流過RS的電壓降VRS與電流I成比例,此電壓VRS輸入負載開關VI端。若內部電流檢測電路檢測出有過流狀態,輸出過流信號(電平信號)給通、斷控制電路,關斷負載開關。
一旦開關斷開,RS上電壓VRS=0,開關又接通,產生振蕩,如圖3所示。輸出電流將小于限制電流。更好的辦法是通過FLAG端輸出過流信號給μC,使μC輸出低電平給負載開關ON端,關斷負載開關。圖2中未畫出μC及μC與負載開關的連線。
從圖1及圖2可看出:無論電流測量或電流限制控制電路都需要外接電流檢測電阻RS。RS的選擇是否正確及RS的質量好壞,對電流測量精度有很大的影響。
電流檢測電阻的要求及特點
電流檢測電阻是隨電流測量、電流控制的要求開發出來的一種特殊電阻。電流的測量范圍很廣,從幾毫安到幾十安;測量的精度要求不同,電流檢測電阻也有不同的規格以滿足不同的需要。本文主要介紹高精度電流檢測電阻,其主要要求及特點如下。

表1CSM2512與CSM3637的主要性能參數
[page]
1.RS的阻值小于10Ω
為減少在RS上的電壓降及減小在RS上的功率損耗,RS的阻值要求小。一般在大電流測量時(幾安到幾十安)要采用毫歐級的RS。例如,檢測電流為12A,若RS=0.1Ω(100mΩ),則在RS上的壓降VRS=1.2V,其功耗為14.4W。如果電源電壓為12V,則在負載上的工作電壓已降到10.8V;并且在檢測電阻RS上的損耗也太大。
若采用5mΩ的RS,則RS上的壓降減小到0.075V,其功耗減少為0.72W。測量電流小時(如幾十毫安到幾百毫安),RS值可取零點幾歐姆到幾歐姆。所以電流檢測電阻RS的阻值是小于10Ω的。目前已開發出超小阻值的系列,有1mΩ、0.5mΩ、及0.3mΩ系列的電流檢測電阻。

圖3內部電流檢測電路產生振蕩
2.四引線結構
當電流檢測電阻值已小到幾毫歐時,其引線的電阻造成的誤差則不能忽略,為此開發出四引線結構,如圖4所示。接近電阻根部的兩引線為測量VRS端,另兩根引線為電流的通路。在電阻根部測量RS上的電壓(消除了引線電阻的測量誤差)是精密測量方法,也稱為凱爾文(Kelvin)測量法。

圖4四引線結構
3.RS的允差要求小
為保證電流測量的精度,RS的允差要求小。一般精密電阻的允差可達±0.01%,但電流檢測電阻值很小時(如RS=2mΩ),其允差達不到±0.01%,目前其允差可做到±0.1%。一般允差為±0.1%~±1%,RS的阻值≥5mΩ時,可達到±0.05%。

圖570℃時降功耗使用
4.溫度系數(TCR)要求小
在測量大電流時,RS的功耗可達1W以上,自身會發熱,若Rs自身溫度系數大,則電阻值發生變化而引起測量誤差。另外,環境溫度TA也會影響Rs的阻值變化,所以要求RS的溫度系數小。目前典型的電流檢測電阻的TCR為±1~±15×10-6/℃(在TA=0~60℃時,RS<1Ω)。除要求其TCR小外,還要求有長期穩定性。

圖6CSM系列外形圖
[page]
5.額定功率大
為滿足大電流的測量,其額定功率一般為1~3W,某些功率電流檢測電阻在加散熱片的條件下可達10W(允許測更大的電流)。

表2RS的外廓尺寸及焊盤尺寸-允差
6.允許環境溫度(TA)寬
電流檢測電阻的工作溫度范圍寬,一般為-55~+125℃。有一些可達150℃。但大部分RS在25℃后要降功耗使用,個別的RS可在70℃后才降功耗使用。例如,某電流檢測電阻在25℃時的額定功耗為1W,在100℃的工作溫度時,其允許的功耗已降到50%即0.5W;若在150℃工作溫度條件下,則允許功耗降到20%即0.2W。這一點在實際使用時十分重要。

表3幾種典型的電流檢測電阻
7.熱電動勢要小
典型值為0.05μV/℃。
典型的電流檢測電阻
電流檢測電阻的生產廠家很多,同一生產廠家也會生產出幾種或幾十種不同的電流檢測電阻(如不同的電流測量范圍、不同的精度、不同的封裝等)。這里介紹VISHAY公司的高精電流檢測電阻CSM系列,它們是CSM2512及CSM3637及一些同類產品。
1.主要特點
CSM系列高精度電流檢測電阻的主要特點:
①溫度系數最大值為±15×10-6/℃;
②額定功率為1~3W;
③阻值允差±0.1%;
④阻值范圍2~200mΩ;
⑤最大檢測電流可達38A;
⑥貼片式元件(SMD);
⑦四端精密凱爾文結構,提高測量精度;
⑧有無鉛產品;
⑨工作溫度范圍-55~+125℃。
2.主要性能參數
CSM2512與CSM3637的主要性能參數如表1所示。
在工作溫度(環境溫度TA下)大于70℃時,要降功耗使用,如圖5所示。
3.尺寸及焊盤尺寸
該系列電流檢測電阻的外廓尺寸及焊盤尺寸如表2所示,外形如圖6所示。

表4電流檢測電阻的應用
其他同類產品簡介
這里再介紹一些其他同類產品,這都是VISHAY公司的產品,它們都是精密電流檢測電阻,其型號是200系列、300系列及VCS101/3。它們的外形如圖7所示,主要參數如表3所示。
應用領域
電流檢測電阻的應用領域極廣。主要應用與工業、消費類、汽車、通信、醫療、儀器及軍用/航空和航天。這方面的應用如表4所示。



