【導讀】汽車制造商不斷努力下,動力系統革命正在加速傳統內燃機過渡到電動機,而在駕駛室內也正在經歷技術革命。智能手機的快速普及及信息娛樂技術的提升,汽車制造商已經開始集成Amazon Alexa、Apple CarPlay和Android Auto等互聯服務,車載觸摸屏成為智能手機和智能家居的最新擴展。
汽車制造商不斷努力下,動力系統革命正在加速傳統內燃機過渡到電動機,而在駕駛室內也正在經歷技術革命。智能手機的快速普及及信息娛樂技術的提升,汽車制造商已經開始集成Amazon Alexa、Apple CarPlay和Android Auto等互聯服務,車載觸摸屏成為智能手機和智能家居的最新擴展。
現在,梅賽德斯-奔馳已經把56英寸超寬Hyperscreen信息娛樂技術引入旗艦純電動EQS轎車之上。最新的專利表明,梅賽德斯-奔馳未來還將通過一種控制信息娛樂系統的革命性方式繼續推進技術進度,讓我們忘記如今主流的觸摸屏和語音控制,用浮動水晶球這種新方式來控制信息娛樂系統吧。
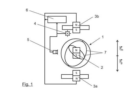
梅賽德斯-奔馳向世界知識產權局申請的這項新技術專利顯示,這是一個用來控制車輛功能的控制裝置,可以由人主動啟動進行控制,控制裝置則設計為一個漂浮在受調節磁場中的物體。有圖為證,我們可以更清楚地了解這項發明。利用磁場技術,一個球形控制裝置漂浮在中控臺上方,控制球可以自由懸停和旋轉,傳感器單元將能夠通過光、運動、接近度和陀螺儀傳感器檢測到控制球的啟用和輸入。浮動控制球可以向多個方向滾動,并且可以像換擋桿一樣推動,按下控制球可以用來單擊功能或選擇菜單選項。
這個發明似乎與巫師的魔法球有異曲同工之妙,看起來會使用玻璃球或水晶球,但考慮到磁場作用,事實上應該會是一種金屬球,控制球安裝有一個永磁體。實際上,起亞已經在EV6電動車上應用了旋轉球體驅動控制裝備,當然只是傳統的機械概念,沒有懸停和旋轉功能。
新的專利申請并不意味著這種設計可以保證安全使用,未來會投入應用。就拿梅賽德斯-奔馳的浮動水晶球來說,存在潛在設計缺陷也不為可能,比如說需要通過磁場使控制球懸停,但也需要足夠強的磁力讓其固定到位。想象一下,當控制球飛出磁場發生巨烈轉向,最終撞向乘客面部,或者出現像埃隆·馬斯克展示特斯拉Cybertruck時砸碎車窗玻璃的尷尬場景。
事實上,由于全球汽車行業芯片供應短缺,寶馬一些新車已經不再提供觸摸屏,梅賽德斯-奔馳這項新發明是否也意味著,現在正流行的大尺寸觸摸屏也在不久的將來成為過去。
(來源:中電網)
免責聲明:本文為轉載文章,轉載此文目的在于傳遞更多信息,版權歸原作者所有。本文所用視頻、圖片、文字如涉及作品版權問題,請電話或者郵箱editor@52solution.com聯系小編進行侵刪。
推薦閱讀:





