【導讀】當今的汽車空調將加熱、制冷及通風等功能一體化,成為汽車加熱、通風空調系統。本文專門圍繞汽車自動空調進行探討,通過安森美半導體相應的電源供電、電機驅動及分立元件等方案實例,幫助設計人員選擇適合的產品,用于汽車自動空調設計。
在當今的汽車設計中,空調已是標準的舒適性配置。從功能上講,當今的汽車空調實際上是將加熱、制冷及通風等功能一體化,成為汽車加熱、通風空調(HVAC)系統(本文將簡稱為“汽車空調”)。從調節方式講,汽車空調包括手動空調、半自動空調及自動空調。本文將專門圍繞汽車自動空調進行探討,介紹安森美半導體相應的電源供電、電機驅動及分立元件等方案,幫助設計人員選擇適合的產品,用于汽車自動空調設計。
汽車空調系統包含加熱及通風系統、空調制冷及電子控制單元(ECU)等不同子系統。在加熱及通風子系統,新鮮空氣從外部的管道通向車廂內部,提升乘客的舒適性及安全性。進入的空氣流過小的發熱芯,連接到發動機的冷卻系統。空調制冷子系統則通過不斷蒸發和冷凝,將車內的熱量轉移到外面的空氣中,在降低車內溫度的同時也降低濕度。圖1是典型的汽車自動空調界面,圖2則是系統架構圖。

圖1. 典型汽車自動空調用戶界面

圖2:汽車空調系統架構圖
汽車空調的電源供電
如圖2的汽車空調系統架構圖所示,汽車空調系統需要為微控制器(MCU)、各種傳感器、驅動器、存儲器等供電。常見的汽車電池電壓包括12 V或24 V。如果采用24 V系統供電,則需要高耐壓產品,加強熱管理,提升電源能效并控制成本。如果采用12 V系統供電,則成本更具優勢,要求較低靜態電流及采用優化的封裝。不同供電電壓也涉及到不同的汽車空調電源供電架構圖,如下圖所示。但無論是哪種架構,都會用低壓降(LDO)穩壓器將24 V或12 V電壓轉換為5 V。安森美半導體提供陣容豐富的LDO產品,表1列出的是適合于汽車空調應用的LDO。它們能夠承受高輸入電壓,提供低靜態電流,通過的汽車行業AEC-Q100認證,符合汽車空調應用要求。

圖3:汽車空調電源轉換架構

表1:安森美半導體應用于汽車空調的LDO穩壓器產品列表
汽車中的外部傳感器必須采用穩定的電源,即LDO跟隨穩壓器(或稱電壓跟隨器)。這些LDO跟隨穩壓器必須得到充分保護,以防諸如對地短路、電池短路、電池反接等故障;同時,其輸出電壓必須與參考電壓高度一致。安森美半導體提供具有完善保護功能的電壓跟隨器NCV8184,為外部傳感器供電。NCV8184是一款單片LDO跟隨穩壓器,提供可調節的緩沖輸出電壓,且密切匹配參考輸入電壓(精度達±3 mV)。這器件的輸出電流能力為70 mA,在50 mA電流時的典型壓降僅為0.35 V;靜態電流僅為70 μA。
用于汽車空調的電機驅動器
[page]
根據不同的地區及不同汽車整車廠的配置需求,汽車空調風門執行器可以采用不同的拓撲結構,如直流電機、單極性步進電機及雙極性步進電機。
最常見的風門執行器是直流電機,并集成位置傳感器,將風門位置信號反饋給微控制器。為控制直流電機的正轉或反轉,需要使用2個高邊(HS)開關及2個低邊(LS)開關組成全橋電路。通常情況下,這些高邊或低邊開關已經集成各種完善的保護,如過壓保護、過載保護及過溫保護等。在步進電機方面,單極性步進電機需使用4個低邊開關,而雙極性步進電機需使用4個高邊開關和4個低邊開關。

圖4:汽車空調風門執行器的電機結構及驅動需求
直流電機風門執行器的工作電流一般在100mA左右,最大堵轉電流小于450mA。此外,需要H橋驅動來改變運行方向。電機驅動器還需要故障診斷報告,且提供足夠的保護功能。安森美半導體的NCV77xx系列器件可用于驅動直流電機風門執行器,如NCV7718。NCV7718是一款六路半橋驅動器,高、低邊在驅動器芯片內部連接,并以H橋輸出。這器件以6路PMOS作為高邊驅動,6路NMOS作為低邊驅動,能夠提供0.55 A持續驅動電流,集成了內部續流二極管。NCV7718能以正向、反向、制動及高阻態工作,能夠通過16位SPI接口控制,帶有專門設計用于汽車及工業運行控制應用的保護功能,如欠壓及過壓鎖定、過流保護、過溫保護、欠載保護及鑒別故障報告等。
除了直流電機驅動器,安森美半導體還提供用于汽車空調的單極性及雙極性步進電機驅動器。安森美半導體的單極性步進電機驅動器包括NCV7608和NCV7240等。其中,NCV7608是8路高、低邊可配置驅動器,每通道能提供350 mA驅動電流,并提供完善的保護功能;NCV7240是8路低邊驅動器,每通道能提供600 mA驅動電流,可采用16位SPI接口控制,也提供完善的保護功能(如開路診斷、過載保護及過溫保護等)。這兩款器件分別采用SOIC28和SSOP24封裝。

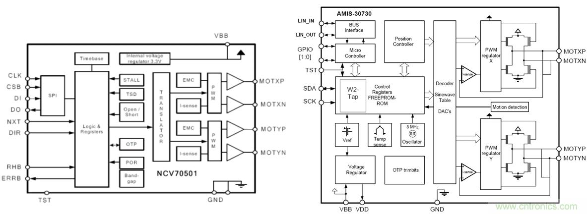
圖5:安森美半導體NCV70501及AMIS-30730雙極性步進電機驅動器框圖
安森美半導體用于汽車空調的雙極性步進電機驅動器包括AMIS-30730和NCV70501等。汽車空調的進氣風門需要采用低噪音設計,因為這個執行器是連續工作模式。采用NCV70501這樣的雙極性步進電機驅動器可以實現低噪音。NCV70501通過H橋驅動步進電機,可以通過設置內部寄存器來改變電機的方向和步數等。AMIS-30730則是單芯片智能步進電機驅動器方案,內部包含雙極性步進電機驅動、微控制器(MCU)內核、LIN接口、ROM、RAM及EEPROM等。
外部負載高邊或低邊驅動器
除了風門執行器,還需要驅動或控制外部負載,如中央電器盒。安森美半導體提供用于外部負載驅動的SmartFET,可用于高邊或低邊驅動,如NCV8440、NCV8401/2/3/5/6等低邊驅動器,以及NCV8450、NCV8452等高邊驅動器。這些SmartFET是帶保護的MOSFET,在功率MOSFET的基礎上增加了多種保護功能及高邊或低邊驅動等。以NCV8452高邊SmartFET為例,這器件的導通阻抗為200 m?,過壓保護等級為41 V,輸出電流限制值為1 A,集成了豐富的保護特性,如短路保護、過載保護、過溫關斷及自動重啟、內部鉗位二極管過壓保護、ESD保護 及邏輯電平控制等。

圖6:汽車空調外部負載的高邊或驅動架構及高邊驅動器NCV8452應用示例
鼓風機用電機驅動器及MOSFET
[page]
鼓風機是汽車空調的重要部分,包含有刷直流電機及無刷直流電機等不同驅動類型。采用有刷直流電機時,采用PWM控制,最大工作電流達30 A,需要用到功率MOSFET。采用無刷直流電機時,需要用到預驅動器及功率MOSFET。安森美半導體提供用于無刷直流電機的三相預驅動器,如LV8901、LV8902及MC33033/5等。安森美半導體還提供用于鼓風機驅動的一系列功率MOSFET,如NVB5860N/NL、NVMFS5830NL、NVMFS5832NL、NVB5404N、NVB5405N、NVD5802及NVD5890N等。
用于汽車空調的恒流驅動器
安森美半導體基于自偏置晶體管(SBT)技術的恒流穩流器(CCR)同樣可用于在汽車空調應用中驅動LED。這些LED驅動器包括雙端可調節輸出版本及三端可調節輸出版本,適合于低噪聲系統。這些CCR內置LED熱保護,能夠替代低成本LDO,可抑制由于電壓波動引起的LED亮度變化,通過了汽車級產品認證,幫助縮短設計/認證時間。這些低電流CCR LED驅動器包括NSI50010YT1G、NSI45015WT1G、NSI45020T1G、NSI45020AT1G及NSI45020JZT1G等。
用于汽車空調的其它產品
當今的汽車制造商設計分散、分布式系統,這些系統通過LIN、CAN及FlexRay?等行業標準接口相互連接。安森美半導體提供這些標準接口技術的車載總線收發器,其中包括用于汽車空調的NCV7321 LIN收發器。這器件的最高通信速率為20 kbps,同時具備高壓模擬和數字功能,符合歐洲LIN物理層規范2.1版及美國SAE J2602-2規范,符合OEM要求,提供出色的電磁兼容(EMC)性能,系統ESD保護能力高達13 kV。
此外,安森美半導體還提供用于多種系統基礎芯片(SBC)。這些系統基礎芯片集成了車載網絡(如LIN、CAN及FlexRay?等收發器)、電源(如線性穩壓器、DC-DC穩壓器)、監控(如看門狗、SPI、狀態、中斷),以及I/O等。其中,用于汽車空調應用的SBC有如NCV7420和NCV7425,這兩款器件集成了LIN收發器及3.3 V或5 V穩壓器,輸出電流能力分別為50 mA及150 mA。
總結:汽車空調是安森美半導體在汽車應用中所關注的核心應用之一。 安森美半導體提供一系列應用于汽車空調應用的產品,包括電源供電(如LDO及電壓跟隨器)、電機驅動器、SmartFET高邊/低邊驅動器、分立元件(功率MOSFET,CCR LED驅動器)、車載網絡收發器及系統基礎芯片等。安森美半導體將繼續致力于研發高性能的標準和專用器件,滿足汽車空調中越來越苛刻的需求,并用優異的產品不斷提高汽車空調系統的安全性、可靠性及燃油經濟性。
相關閱讀:
安森美出展多種LED通用照明方案
安森美推出降低30%開關損耗的截止型IGBT器件
針對不斷增長的半導體細分市場,安森美如何應對
安森美推出用于網絡及通信應用的高性能時鐘分配集成電路




